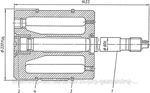
Поршень ⁇ 330 зі штоком на компресор 4М10-40/70
Рисунок поршня ⁇ 330 зі штоком
Запасні частини поршня ⁇ 330 зі штоком компресора 4М10-40/70 (поршень II-й щаблі)
Пояснення до креслення:
|
| Позначення | Найменування | Кількість на одну збірну одиницю | Матеріал | Маса, кг |
| 1 | 2 | 3 | 4 | 5 |
| 89-1-3-2 | Шток | 1 | Сталь 3Х13, ГОСТ 20072-74 | 30,2 |
| 71-1-1-3А | Поршнева гайка | 1 | Сталь 40, ГОСТ 1050-70 | 1,9 |
| Н202-1-19 | Кільце поршневе ПУ330 | 1 | СЧ21-40, ГОСТ 1412-70 | 0,55 |
| Н202-1-19 | Кільце поршневе ЛУ330 | 1 | СЧ21-40, ГОСТ 1412-70 | 0,55 |
Усі запасні частини поршня ⁇ 330 зі штоком на компресор 4М10-40/70 є взаємозамінними у всіх модифікаціях компресорів.
Інформація для замовлення
- Ціна: Ціну уточнюйте

