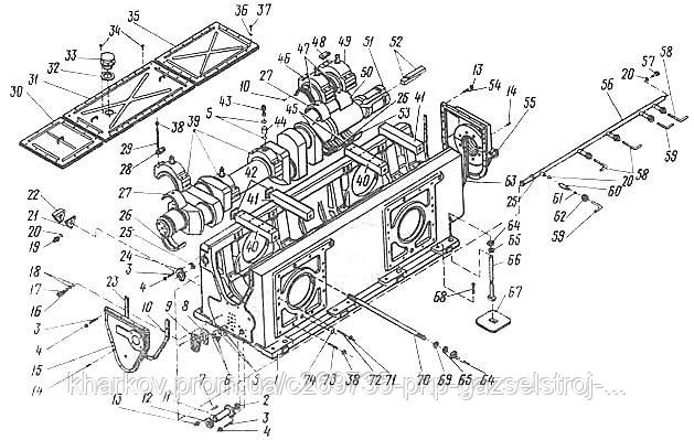
Рама з колінчастим валом компресора 4ВМ10-120/9
Рама в зборі з колінчастим валом 4 ВМ10-120/9
|
Номер позиції |
Позначення |
кількість |
|---|---|---|
|
1 |
Рама Н 251-1-1, Н251-1-1 |
1 |
|
2 |
Прокладка СТП 0503-46-76 68/39х2 |
1 |
|
3 |
Прокладка СТП 0503-47-76 34/28х2 |
8 |
|
4 |
Пробка СТП 0503-31-74 |
2 |
|
5 |
Фільтр забірний Н 263-2А, Н263-2А |
1 |
|
6 |
Покажчик рівня оливи Н 251-2-15, Н251-2-15 |
1 |
|
7 |
Гвинт СТП 0503-9-84 |
10 |
|
8 |
Болт СТП 0503-5-72 М12х35.66.02 |
1 |
|
9 |
Шпилька СТП 0584-138-80 |
18 |
|
10 |
Гайка СТП 0503-10-72 |
18 |
|
11 |
Прокладка Н 250-2-13, Н250-2-13 |
1 |
|
12 |
Штифт СТП 0503-26-73 |
4 |
|
13 |
Кришка Н 250-2-5, Н250-2-5 |
1 |
|
14 |
Шайба 1265Г |
1 |
|
15 |
Шайба СТП 0503-23-73 |
2 |
|
16 |
Прокладка Н 251-2-17, Н251-2-17 |
1 |
|
17 |
Штуцер Н 251-2-10 Dy13, Н251-2-10 |
1 |
|
18 |
Прокладка СТП 0503-47-76 |
5 |
|
19 |
Фланець Н 251-2-9А, Н251-2-9А |
1 |
|
20 |
Прокладка Н 251-2-16А, Н251-2-16А |
1 |
|
21 |
Фланець Н 250-2-12, Н250-2-12 |
1 |
|
22 |
Шайба Н 250-2-20 регулювальна, шайба Н250-2-20 |
2 |
|
23 |
Прокладка СТП 0503-46-76 70/55х2 |
2 |
|
24 |
Прокладка Н 250-2-21, Н250-2-21 |
4 |
|
25 |
Шайба СТП 0503-23-73 — 30.02.05 |
8 |
|
26 |
Гайка СТП 0503-10-72 М30.6.05 |
8 |
|
27 |
Штуцер Н 250-2-6А вкрутний, штуцер Н250-2-6А |
3 |
|
28 |
Колектор Н 261-1, Н261-1 |
1 |
|
29 |
Нипель Н 154А-4 13х17, Н154А-4 |
3 |
|
30 |
Гайка Н 155-4 М30х1,5-17, Н155-4 |
3 |
|
31 |
Труба Н 250-2-10А, труба Н250-2-10А |
2 |
|
32 |
Труба Н 250-2-10А-01, труба Н250-2-10А-01 |
1 |
|
33 |
Болт СТП 0503-5-72 М20х80.66.05 |
1 |
|
34 |
Вкладка Н 251-2-2 підшипники нижня |
2 |
|
35 |
Вкладка Н 251-2-3 підшипники верхня |
2 |
|
36 |
Кришка підшипника Н 251-2-7, кришка Н251-2-7 |
1 |
|
37 |
Втулка Н 250-2-8, втулка Н250-2-8 |
3 |
|
38 |
Шайба стопорна Н 251-2-19А, шайба Н251-2-19А |
2 |
|
39 |
Шпилька Н 251-2-11 М 24х200, шпилька Н251-2-11 |
12 |
|
40 |
Гайка СТП 0503-10-72 М 24.6.05 |
38 |
|
41 |
Штуцер Н 250-2-7, штуцер Н250-2-7 |
3 |
|
42 |
Гвинт СТП 0503-6-84 |
4 |
|
43 |
Кришка підшипника Н 251-2-8, кришка Н251-2-8 |
1 |
|
44 |
Напівкільце верхнє Н 251-2-13, півкільце Н251-2-13 |
2 |
|
45 |
Шайба стопорна Н 251-2-19А-01, шайба Н251-2-19А-01 |
4 |
|
46 |
Кришка підшипника Н 251-2-6, кришка Н251-2-6 |
1 |
|
47 |
Вкладка підшипника верхня Н251-2-5 |
1 |
|
48 |
Вал коленчатый 70-1-0-1А, коленвал 70-1-0-1 |
1 |
|
49 |
Шпонка тангенційна 70-1-0-2 |
4 |
|
50 |
Шпилька СТП 0584-138-80 |
14 |
|
51 |
Гайка СТП 0503-10-72 |
14 |
|
52 |
Болт СТП 0503-5-72 М10х25.55.05 |
30 |
|
53 |
Сапун Н 264-2, Н264-2 |
1 |
|
54 |
Кришка верхня Н 255-1, кришка Н255-1 |
1 |
|
55 |
Гвинт СТП 0503-9-84 |
2 |
|
56 |
Чашка для пломбування Н 250-2-23, чашка Н250-2-23 |
2 |
|
57 |
Прокладка Н 264-2-5, Н264-2-6 |
1 |
|
58 |
Вкладка підшипника нижня H251-2-4 |
1 |
|
59 |
Напівкільце нижнє Н 251-2-12, півкільце Н251-2-12 |
2 |
|
60 |
Розпірка Н 250-2-2, Н250-2-2 |
2 |
|
61 |
Прокладка Н 250-2-17, Н250-2-17 |
1 |
|
62 |
Олія відбивач Н 253-2, оливовідбивач Н253-2 |
1 |
|
63 |
Болт фундаментальний Н 250-1-5, болт Н250-1-5 |
4 |
|
64 |
Плита фундаментальна Н 250-1-6, плита Н250-1-6 |
4 |
|
65 |
Стяжка Н 250-2-3 — М30, стяжка Н250-2-3 |
2 |
|
66 |
Гайка СТП 0503-10-72 М10,6,05 |
4 |
|
67 |
Відтискний болт Н 101-58-5, Н101-58-5 |
4 |
|
68 |
Штифт Н 250-1-4 конічний10х40х70, штифт Н250-1-4 |
4 |
|
69 |
Шпилька СТП 0584-138-80 М24 |
26 |
|
70 |
Кольцо 045-050-30-2-4 ГОСТ 9833-73 |
2 |

- Ціна: Ціну уточнюйте

